A New Disney Patent Plans to Track Park Visitors with Pictures of Shoes
References: patft.uspto.gov & thenextweb
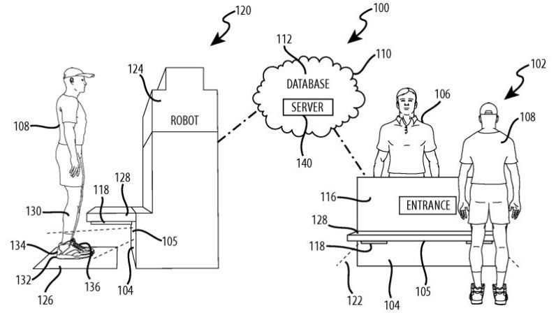
A new Disney patent plans to use robots to take pictures of the shoes worn by visitors to the company's theme parks then use that information to create a tailored guest experience. According to the patent, the system will incorporate robots that snap images of each guest's shoes at various sites around the park, tracking that guest's movement throughout the course of a day to gain a better understanding of how they spend their time.
The Disney patent chose shoe-recognition over facial recognition because, according to the patent, "shoe styles typically vary widely in appearance and color, helping to reduce confusion for the system in identifying a particular person." From a cyber security standpoint, the other benefit of a shoe-based system is that Disney won't gather a giant database of facial recognition images, as such a database would raise serious privacy concerns.
The Disney patent chose shoe-recognition over facial recognition because, according to the patent, "shoe styles typically vary widely in appearance and color, helping to reduce confusion for the system in identifying a particular person." From a cyber security standpoint, the other benefit of a shoe-based system is that Disney won't gather a giant database of facial recognition images, as such a database would raise serious privacy concerns.
Trend Themes
-
Shoe-based Tracking — There is a disruptive innovation opportunity to create other shoe-based tracking systems beyond Disney's park experience.
-
Personalized Guest Experience — There is a disruptive innovation opportunity to create personalized guest experiences using tracking technology in other industries beyond theme parks.
-
Privacy-focused Tracking — There is a disruptive innovation opportunity to create tracking technology that prioritizes privacy and security concerns, such as a shoe-based system.
Industry Implications
-
Tourism — This technology could be applied in other tourism industries such as museums and historic sites to offer personalized experiences to guests.
-
Retail — The potential for shoe-based tracking could offer retailers the opportunity to analyze consumer behavior and offer a personalized experience.
-
Healthcare — Using similar tracking technologies, healthcare professionals can improve patient experiences and streamline care delivery in hospitals and clinics.
2.1
Score
Popularity
Activity
Freshness