This Airbus Patent Proposes Stadium-Style Seating for Plane Travel
Charlotte Joyce Kidd — October 8, 2015 — World
References: appft.uspto.gov & core77
A recent Airbus patent may entirely revolutionize plane travel -- particularly in-cabin seating.
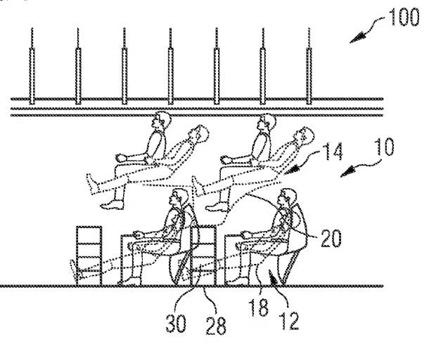
The concept proposes multi-level "mezzanine" seating, where a second layer of passenger seats would be stacked on top of the regular seats on the cabin floor. Diagrams of the re-imagined airplane seating show that passengers would still be able to recline and move freely. They also illustrate a variety of proposed configurations, including one in which passengers on the top level face each other. The potential change will first be applied to Business Class seating.
With the current concerns about the cost and environmental impact of plane travel, figuring out how to make airplane trips more efficient is an excellent way to become a forerunner in the industry -- and this Airbus airplane seating renovation does just that.
The concept proposes multi-level "mezzanine" seating, where a second layer of passenger seats would be stacked on top of the regular seats on the cabin floor. Diagrams of the re-imagined airplane seating show that passengers would still be able to recline and move freely. They also illustrate a variety of proposed configurations, including one in which passengers on the top level face each other. The potential change will first be applied to Business Class seating.
With the current concerns about the cost and environmental impact of plane travel, figuring out how to make airplane trips more efficient is an excellent way to become a forerunner in the industry -- and this Airbus airplane seating renovation does just that.
Trend Themes
-
Multi-level Airplane Seating — Airbus' proposed multi-level seating revolutionizes plane travel and offers disruptive innovation opportunities for cabin space optimization.
-
Stadium-style Seating — The concept of stadium-style seating in airplanes opens possibilities for enhanced passenger comfort and an innovative way to maximize seating capacity.
-
Efficiency in Plane Travel — Improving the efficiency of airplane trips through creative seating configurations presents an opportunity for disruptive innovation and a competitive edge in the industry.
Industry Implications
-
Aviation — The aviation industry can explore the potential of Airbus' multi-level seating concept to enhance passenger experience and optimize cabin space.
-
Aerospace — In the aerospace industry, adopting stadium-style seating in airplanes can lead to innovative solutions that increase capacity and comfort.
-
Interior Design — The interior design industry can capitalize on the opportunity to create new seating configurations that provide optimal space utilization and passenger satisfaction.
5.6
Score
Popularity
Activity
Freshness